电磁接触器
电磁接触器的结构
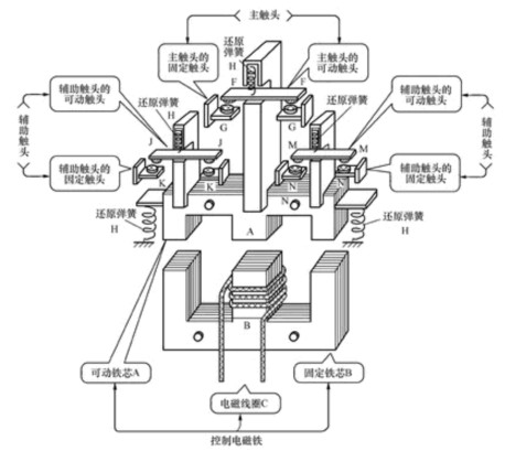
电磁接触器由以下四部分组成:

⑴电磁机构
电磁机构由线圈 、动铁心(衔铁)和静铁心组成,其作用是将电磁能转换成机械能,产生电磁吸力带动触点动作。
⑵触点系统
包括主触点和辅助触点。主触点用于通断主电路,通常为三对常开触点。辅助触点用于控制电路,起电气联锁作用,故又称联锁触点,一般常开、常闭各两对。
⑶灭弧装置
容量在10A以上的接触器都有灭弧装置,对于小容量的接触器,常采用双断口触点灭弧、电动力灭弧、相间弧板隔弧及陶土灭弧罩灭弧。对于大容量的接触器,采用纵缝灭弧罩及栅片灭弧。
⑷其他部件
包括反作用弹簧、缓冲弹簧、传动机构及外壳等。
电磁接触器的原理
电磁接触器的部件功能
1、接点:是一种表面镀上一层银的铜接点。
(1).依耐电流的大小分成主接点及辅助接点两种。
a.主接点:专门用来启闭负载电流,所以耐电流较大。一般MC上所标示的额定电流值都是指主接点的耐电流。 主接点的电源侧以R,S,T或1,3,5来标示,负载侧则以U,V,W或2,4,6来标示。
b.辅助接点:是小容量的接点,做为电路控制用。
(2).其依接点通断的状态,分成常开接点及常闭接点两种:
a.常开接点(Normal Open):又称NO接点或a接点。 当MC本身未动作(激磁线圈未受电或不使用人工压按)时,接点为开路状态;而当MC动作(激磁线圈受电或使用人工压按)後,接点为通路状态;在MC复归(激磁线圈断电或放开压按)时,接点又恢复原来的开路状态。
b.常闭接点(Normal Close):又称NC接点或b接点。 当MC本身未动作时,接点为通路状态;而当MC动作後,接点为开路状态;在MC复归时,接点又恢复原来的通路状态。
2、激磁线圈:当通电予激磁线圈後,激磁线圈藉由固定铁心产生一磁场。此磁场将可动铁心往下吸,促使与可动铁心相连接的可动接点改变原有的状态。即原来为通路的接点变为开路、原来为开路的接点变成通路。当除去激磁线圈的电源时,磁场消失,可动铁心被释放,藉由复归弹簧的反弹力量,而回复到原来位置,接点亦因而恢复原状。
3、铁心:可分为固定E型铁心及可动E型铁心两种。
(1).固定E型铁心:由矽钢片叠置而成,做激磁线圈的磁路以加大磁场强度。
(2).可动E型铁心:由矽钢片叠置而成。受激磁磁场吸持後,带动接点变化。
4、蔽极铜环:在电磁接触器固定铁心上有两个蔽极铜环,当线圈所通的交流电源正弦波通过零点时,为防止线圈因消磁而使吸力不足产生振动,故以铜环产生滞後的磁场消除零点,加大总合磁场。
5、避震垫片:在前述元件动作时,震动力较大,加装避震垫片可以缓冲震力,避免外壳被震裂。
电磁接触器的特性
1、电磁接触器使用的电压应介於额定值的85﹪~110﹪,如太低则电磁吸力不够,有噪音和跳脱的可能;太高则电磁线圈有烧毁的危险。
2、电磁接触器只操作电流系指电磁线圈加上额定电压使其动作的电流。
3、电磁接触器主接点的型式为a接点。
4、电磁接触器的电磁线圈若无标注则多为220V者。
5、直接以电磁接触器来启动三相鼠笼式感应电动机时,电磁接触器的主接点应选用能启闭其额定电流的10倍。
6、电磁开关需配合按钮开关使用。
7、电磁开关的额定值通常以电流A、马力HP或千瓦KW标示,一般皆以三相220V电压的额定值为准。
8、电磁开关标示“AC220V 5a2b 10A”表示其:使用电压为交流220V;主接点的型式为3a﹔辅助接点的型式为2a2b接点;主接点耐电流10A。
电磁接触器的分类
1、依所使用电压分:电磁接触器所使用电压可分交流与直流两种:
(1).交流可分110V、220V、380V、440V等,其中较常使用的为110V 及220V两种。
(2).直流可分24V48V110V220V等。
2、依所使用接点分:可分为a接点及b接点两种。
3、依所使用主接点电流分:电磁接触器依启闭电流为额定电流倍数分为下 列几级:
(1).AC1级:1.5倍以上,电热器或电阻性负载用。
(2).AC2B级:4倍以上,绕线式感应电动机起动用。
(3).AC2级:4倍以上,绕线式感应电动机起动、逆相制动、寸动控制用。
(4).AC3级:闭合10倍以上,启断8倍以上,鼠笼式感应电动机起动用。
(5).AC4级:闭合12倍以上,启断10倍以上,鼠笼式感应电动机起动、逆相制动、寸动控制用。
